Livraison Offerte à partir 12€ TTC en france métropolitaine | Paiement Sécurisé
Une question ? Un conseil ? 04 90 89 13 12 Du lundi au vendredi de 8h à 12h et de 14h à 17h00

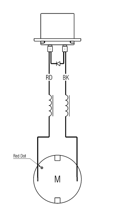
PIECES DETACHEES ACCESSOIRES POUR MARTEAUX METABO ISA 24 31357000

Pièces détachées METABO Accessoires pour marteaux ISA 24 31357000

ATTENTION : la désignation commerciale peut être identique pour deux versions différentes de la machine.
Veuillez vérifier que la référence (numéro situé dans l'encadrement rouge du schéma) corresponde bien à celle visible sur la plaque signalétique de votre machine.
Si ce n'est pas le cas, veuillez renseigner votre référence dans le champ de recherche.

Repérez votre pièce sur la vue éclatée et commandez-la dans notre liste. Si toutefois, vous ne trouvez pas votre pièce, vous avez la possibilité de nous contacter via le formulaire à la suite de la liste de pièces.

Désignation Prix
16 Vis tole avec tete bombee METABO ISA 24
11,75 € HT 14,10 € TTC
Ajouter

Description PIECES DETACHEES ACCESSOIRES POUR MARTEAUX METABO ISA 24 31357000

Pièces détachées METABO Accessoires pour marteaux ISA 24 31357000

Caractéristiques techniques

Référence PD_METABO_ISA 24#31357000

Il manque une référence dans les pièces proposées ?

Il vous suffit de nous contacter pour la commander !

Contactez-nous par téléphone au 04 90 89 13 12  (du lundi au vendredi de 8h à 12h et de 14h à 17h00 )  ou par email :